Rolls-Royce’s new electric crossover will have a split-opening hood. It features a central spine as well as two outer panels that lift up. SUV will likely mix BMW Neue Klasse tech with Spectre developments.
Тестування нового кросовера
Rolls-Royce працює над електричним кросовером, який стане конкурентом для Bentley Barnato. Нещодавно шпигунські фотографи зняли прототип цієї моделі під час тестувань у Мюнхені. Це цікаво само по собі, але що ще більш примітно, модель, здається, має старомодний роздільний капот.
Завдяки потужному об’єктиву камери можна побачити, що «капот» матиме центральну хребтову частину з висувною фігуркою «Дух екстазу» на передній частині. По обидва боки розташовані дві рухомі панелі, які, судячи з усього, піднімаються вгору, подібно до кришки багажника.
Детальніше: Наступний Rolls-Royce Cullinan Зміниться Набагато Більше, Ніж Ви Думаєте
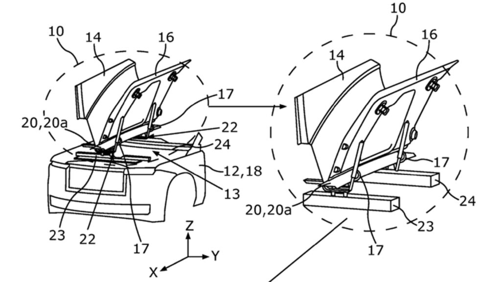
Rolls-Royce подав патент на цю ідею ще в 2024 році, і він дає гарне уявлення про те, чого очікувати. Ми також можемо побачити те, що схоже на петлю в передній частині капота, хоча при збільшенні це виглядає як насадка для дриля з хрестоподібним жалом.
Дизайн та особливості
Окрім забутих інструментів, кросовер має повністю закриту решітку радіатора з камерою, встановленою зверху. Її обрамляють роздільні освітлювальні блоки, включаючи нижні фари з логотипом «RR». Модель також має широку нижню повітрозабірну решітку з горизонтальними планками.
Решта дизайну набагато більш звичайна і тісно перегукується з нинішнім Cullinan. Як наслідок, присутня чітка лінія плечей і прямолінійні обриси кузова. Їх доповнюють впізнавана лінія вікон, відносно плоский дах і товста задня стійка.
Задня частина та технічні деталі
Відчуття дежавю продовжується і ззаду, але електромобіль має унікальний бампер, у якому відсутні вихлопні отвори. У цьому бампері також розташовано нішу для номерного знака, що є зміною, оскільки на Cullinan він кріпиться до двері багажника.
Ці схожості спочатку змусили нас думати, що це модель другого покоління Cullinan. Однак існують припущення, що два кросовери могли б співіснувати поряд один з одним – принаймні спочатку.
Технології та майбутнє
Поки що запитань більше, ніж відповідей, але модель, безсумнівно, піде слідами Spectre. Це купе оснащене акумуляторною батареєю ємністю 102 кВт·год, а також повнопривідною системою з двома двигунами, що розвиває 577 к.с. (430 кВт) та 900 Нм крутного моменту.
Це дозволяє моделі розганятися від 0 до 60 миль/год (0-96 км/год) за 4,4 секунди та мати запас ходу за стандартом WLTP у 329 миль (530 км). Також може з’явитися потужніша версія Black Badge з 650 к.с. (485 кВт) та 1075 Нм крутного моменту.
Втім, кросовер може отримати переваги від новітніх технологій, як-от оновлений 7-Series. BMW нещодавно оголосило, що флагманський седан отримає їхню технологію Gen6 eDrive, яка включатиме літій-іонний акумулятор з циліндричними елементами та на 20% вищою щільністю енергії. Також можна очікувати, що модель інтегрує деякі інші досягнення архітектури Neue Klasse.
Відродження роздільного капота в епоху електричних автомобілів – це цікавий крок, який поєднує класичну естетику з сучасними технологіями. Такий дизайн не лише підкреслює спадщину бренду, але й може мати практичні переваги для обслуговування. Конкуренція в сегменті розкішних електричних кросоверів посилюється, і поява нового Rolls-Royce, ймовірно, встановить нові стандарти для поєднання традиційної розкоші, інноваційного дизайну та високотехнологічної електричної трансмісії. Успіх моделі залежатиме від того, наскільки вдало вдасться інтегрувати новітні розробки BMW, зберігши при цьому неповторний характер Rolls-Royce.

by