Новий патент Porsche може відкрити нову сторінку в історії трансмісій, пропонуючи водієві поєднання автоматичного комфорту з відчуттям механічної коробки передач в одній системі. Ця ідея не є абсолютно новою, оскільки подібну концепцію вже втілила у своєму гіперкарі Koenigsegg CC850. Головне питання полягає в тому, чи зможе компанія виправдати витрати на розробку та впровадження такої складної технології у свої серійні автомобілі.
Занепад та відродження механіки
Про занепад механічних коробок передач говорять вже більше десятиліття. Тринадцять років тому Porsche прийняв суперечливе рішення прибрати шестиступінчасту механіку з моделі 911 GT3 покоління 991, пропонуючи лише семиступінчасту роботизовану коробку PDK. Реакція публіки була настільки різкою, що компанія змінила свою позицію для оновленої версії 991.2, повернувши механічну коробку. Відтоді вона залишається доступною не лише для GT3, але й для низки інших модифікацій 911.
Незважаючи на певне відродження інтересу до механіки в останні роки, її майбутнє залишається невизначеним, особливо на тлі загальної електрифікації автопрому. Однак нещодавна патентна заявка Porsche свідчить, що компанія зацікавлена у збереженні механічної коробки, потенційно поєднуючи її з автоматичною трансмісією.

Технологія, натхненна гіперкарами
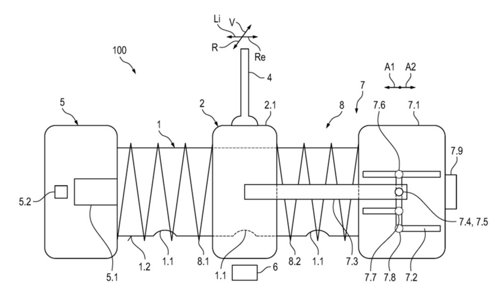
Цікавий патент було подано у серпні 2024 року, а опубліковано лише на початку цього місяця. Він описує систему, схожу на трансмісію, яку використовують у шведських гіперкарах Koenigsegg CC850 та Chimera. У цих автомобілях селектор можна перевести в режим Drive, і коробка працює як звичайний автомат. Однак водії також можуть активувати режим шестиступінчастої механіки з педаллю зчеплення та кулестим селектором.
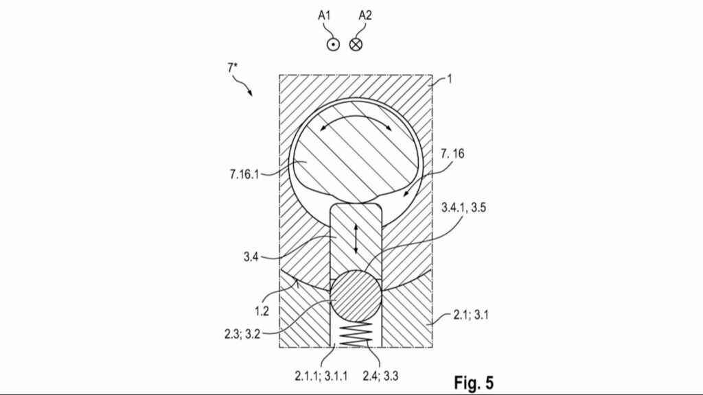
Porsche’s system could include Drive, Neutral, and Reverse in automatic mode, selected by moving the lever forward and backward, Carbuzz notes. For those seeking a more engaging experience, the lever could be shifted into a dedicated H-pattern mode, functioning like a traditional manual transmission.

Інженерні та комерційні виклики
Розробка подібної трансмісії є складною та дорогою. У випадку Koenigsegg система працює завдяки власній розробці бренду — коробці передач з шістьма індивідуальними муфтами та трьома валами, а також розгалуженим електронним системам, які роблять педаль зчеплення та важіль перемикання схожими на ті, що використовуються у звичайній механіці.
Інженери Porsche, безсумнівно, здатні створити щось подібне. Справжня проблема полягає в тому, щоб зробити це рішення життєздатним за межами нішевого застосування. Koenigsegg може покрити високі інженерні витрати за рахунок цін на гіперкари вартістю в мільйони доларів, де складність сама по собі є частиною привабливості.

Porsche, на відміну від цього, потребує, щоб така трансмісія мала сенс у більш доступному модельному ряді зі значно жорсткішими ціновими обмеженнями. Це набагато складніше завдання, враховуючи, наскільки доведеними та вдосконаленими вже є нинішні механічні коробки та PDK від компанії.
З іншого боку, оскільки частина клієнтів Porsche категорично наполягає на наявності механіки, а інші віддають перевагу зручності PDK, можливо, інженери з Вайссаха знайшли спосіб задовольнити обидві групи.

Патент демонструє прагнення Porsche знайти технологічний компроміс у часи, коли вибір між емоціями та ефективністю стає все гострішим. Успіх подібної ініціативи залежатиме не лише від інженерної майстерності, але й від здатності компанії запропонувати рішення, яке буде технологічно досконалим, емоційно переконливим і комерційно обґрунтованим для своїх покупців. Це може стати своєрідним мостом між традицією та майбутнім, особливо для таких іконічних моделей, як 911.

by